直通式衬胶隔膜阀
您的位置:超卓阀门 >>直通式衬胶隔膜阀 >> G46J直通式衬胶隔膜阀G46J直通式衬胶隔膜阀
G46J直通式衬胶隔膜阀专用于控制非腐蚀性或一般腐蚀性介质,阀体内腔表面无衬里或覆有可供选择的各种橡胶、适用于不同工作温度和液体管路。适用温度:≤85℃、≤100℃、≤120℃、≤150℃(按照衬里和隔膜材料)。压力等级:PN(MPa) 0.6 1.0 1.6
阀体:铸铁、球墨铸铁、碳钢、不锈钢
阀盖:铸铁、球墨铸铁、碳钢、不锈钢
衬里:无衬里、橡胶
隔膜:橡胶
阀瓣:铸铁、碳钢
阀杆:碳钢、不锈钢
手轮:铸铁
衬里层:电火花检测
试验与检验按BS6755标准
公称压力:PN(MPa)
阀体:PN×1.5
密封:PN×1.1
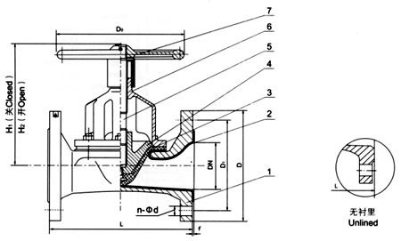
G46J直通式衬胶隔膜阀结构特点
直通式隔膜阀是一种特殊形式的截断阀:
1.弹性密封的开闭件,确保没有内漏;
2.流线型的流道,使得压力损失小;
3.没有填料函,因此没有外漏;
4.阀体与盖被中间隔膜隔开,使得隔膜上方的阀盖,阀杆等零件不受介质侵蚀;
5.隔膜可更换,维护费用低;
6.衬里材料的多样性,可适用于各种介质,并具有强度高、耐腐蚀性能好的特点。
G46J直通式衬胶隔膜阀技术规范
|
计规范 |
结构长度 |
连接法兰 |
试验与检验 |
产品标识 |
供货规范 |
|
GB/T 12239 |
GB/T 12221/BS5156 |
JB/T78 BS4504 |
GB/T 13927 |
BS 12220 |
JB/T 7928 |
G46J直通式衬胶隔膜阀主要零部件材料
|
序号
|
零件名称
|
灰铸铁 |
铸钢 |
不锈耐酸铸钢 |
超低碳不锈耐酸铸钢 |
||
|
Z |
C |
P |
R |
PL |
PL |
||
|
1 |
阀体/阀盖 |
HT250 |
WCB |
CF8 |
CF8M |
CF3 |
CF3M |
|
2 |
阀瓣/阀杆 |
HT250 |
1Cr13 |
1Cr18Ni9Ti |
1Cr18Ni12Mo2Ti |
00Cr18Ni10 |
00Cr17Ni14Mo2 |
|
3 |
衬里/阀座 |
天然胶(Natural rubber)、丁基胶(Isobutylene-isoprene rubber)、PTFE(F4)、FEP(F46) |
|||||
|
4 |
隔膜 |
橡胶、氟塑料 Rubber, fluoro plastic |
|||||
|
5 |
手轮 |
HT250 |
|||||
G46J直通式衬胶隔膜阀主要尺寸及重量
|
公称压力 |
工作压力 |
通径 |
L |
D |
D1 |
N-φd |
F |
H1 |
H2 |
D0 |
重量 |
|
|
mm |
inch |
|||||||||||
|
0.6 |
0.6 |
20 |
3/4 |
117 |
105 |
75 |
4-14 |
2 |
150 |
150 |
120 |
|
|
25 |
1 |
127 |
115 |
85 |
4-14 |
2 |
150 |
150 |
120 |
3.5 |
||
|
32 |
11/4 |
146 |
140 |
100 |
4-18 |
2 |
152 |
152 |
120 |
5 |
||
|
40 |
11/2 |
159 |
150 |
110 |
4-18 |
2 |
152 |
152 |
120 |
6 |
||
|
50 |
2 |
190 |
165 |
125 |
4-18 |
2 |
163 |
163 |
230 |
8.5 |
||
|
65 |
21/2 |
216 |
185 |
145 |
4-18 |
2 |
205 |
205 |
230 |
16 |
||
|
80 |
3 |
254 |
200 |
160 |
8-18 |
2 |
220 |
220 |
280 |
22 |
||
|
100 |
4 |
305 |
220 |
180 |
8-18 |
3 |
262 |
262 |
280 |
32 |
||
|
0.6 |
125 |
5 |
356 |
250 |
210 |
8-18 |
3 |
290 |
290 |
368 |
43.5 |
|
|
150 |
6 |
406 |
285 |
240 |
8-22 |
3 |
368 |
368 |
483 |
65 |
||
|
200 |
8 |
521 |
340 |
295 |
8-22 |
3 |
410 |
410 |
483 |
112.5 |
||
|
0.4 |
250 |
10 |
635 |
395 |
350 |
12-22 |
5 |
479 |
479 |
560 |
192.5 |
|
|
300 |
12 |
749 |
445 |
400 |
12-22 |
5 |
550 |
550 |
560 |
296 |
||
|
350 |
14 |
787 |
505 |
460 |
16-22 |
5 |
550 |
550 |
640 |
3.5 |
||
|
.025 |
400 |
16 |
914 |
565 |
515 |
16-26 |
5 |
|
|
120 |
|
|
更多衬胶、衬氟隔膜阀的相关产品:





